Šeptanda
naslouchadlo
Popis herních prvků
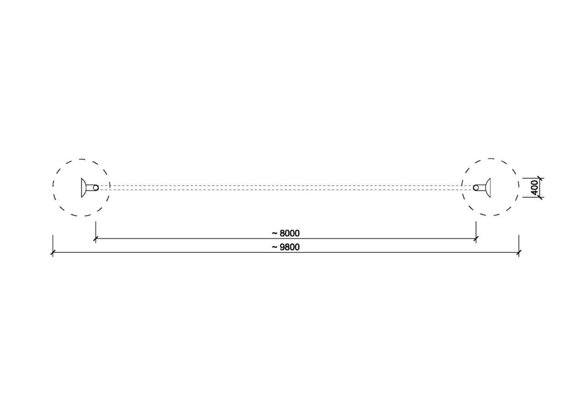
dvojice nerezových naslouchadel spojených podzemním zvukovodem
PA-0500-00
2 - 14
8,0 x 0,4 x 0,9
8,0 x 0,4
do 0,6
2






